Расширение ассортимента криогенной арматуры Baitu: Новые горизонты для надежности и безопасности
Расширение ассортимента криогенной арматуры Baitu: Новые горизонты для надежности и безопасности
Современные промышленные процессы требуют высоких стандартов надежности и безопасности, особенно когда речь идет об управлении и контроле различных жидкостей и газов при критических температурах и давлениях. В этой связи мы рады сообщить об увеличении ассортимента арматуры, включающей в себя новейшую линейку криогенной арматуры, которая способна работать под высоким давлением до 32 МПа.
Криогенная трубопроводная арматура осуществляет контроль потоков при низких температурах, что является неотъемлемой частью многих высокотехнологичных отраслей, таких как энергетика, газовая и нефтяная промышленности, а также в сфере переработки химических веществ. Мы понимаем, что безопасность на всех этапах эксплуатации критически важна, и поэтому предлагаем нашу линейку с акцентом на надежность и долговечность.
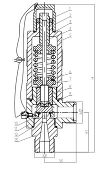
Предохранительная криогенная арматура Baitu на высокое давление Рис. 1
Стандартным максимальным давлением для эксплуатации криогенной трубопроводной арматуры является 4 Мпа. Запорные криогенные клапаны или предохранительные криогенные клапаны на высокое давление используются редко, лишь в криогенных насосах. Криогенный поршневой насос- это агрегат, который повышает давление криогенной газожидкостной рабочей среды до давления в 20 МПа для дальнейшей закачки в баллоны. Следовательно, для работы такого насоса и требуется криогенная арматура высокого давления. Этот компонент не только защищает системы от потенциальных аварий и технических неисправностей, но и обеспечивает дополнительный уровень безопасности в условиях повышенных нагрузок.
Вместе с тем, криогенная предохранительная арматура с ручным подрывом позволяет осуществлять экстренные меры в случае непредвиденных ситуаций, что делает ее незаменимой для промышленных объектов, где риск аварийности высок.
|
PN 32 МПа DN Ø10, Ø15, Ø20 Температура среды: -196°С до +80°С Среда:LNG, LO2, LN, LAr, CO2
|
|
|
|
Рис. 1 Предохранительная криогенная арматура Baitu на высокое давление
Обратные криогенные клапаны Baitu на высокое давление Рис. 2
Обратные клапаны для криогенного оборудования являются ключевыми элементами в любых системах, где необходим контроль за направлением потока. Специально разработанные для работы при высоких давлениях, эти криогенные клапаны предотвращают обратное движение криогенной рабочей среды. Обратный поток высокого давления что может привести к серьезным проблемам, включая повреждение оборудования и утечки.
Высоконадежные криогенные обратные клапаны, способные выдерживать давление до 32 МПа, изготавливаются полностью из нержавеющей стали марки 316, что обеспечивает их длительную эксплуатацию даже в самых сложных условиях. Они проходят строгие тестирования на прочность и герметичность, что гарантирует их надежность и безопасность. Установка таких клапанов критически важна как для защиты самого оборудования, так и для обеспечения безопасности персонала.
|
PN 32 МПа DN Ø10~Ø25 Температура среды: -196°С до +80°С Среда:LNG, LO2, LN, LAr, CO2 |
|
Рис. 2 Криогенные обратные клапаны Baitu на высокое давление
Криогенные вентили с пневмоприводом Baitu на высокое давление Рис. 3
Криогенные пневмоприводы становятся все более популярными в различных отраслях благодаря своей способности обеспечивать быструю и точную регулировку потоков. Криогенные вентили с пневмоприводом на высокое давление используются для эффективного управления потоками жидкостей и газов, позволяя быстро и эффективно открывать или закрывать каналы. Это особенно важно в условиях, когда требуется оперативная реакция на изменения в процессе. Пневмопривод запорного криогенного клапана это металлическая тарообразная емкость, внутри которой есть подвижная мембрана, разделяющая эту емкость на две части: верхнюю и нижнюю. На мембрану давит пружина. Пружина может быть установлена в нижней или верхней части емкости, в зависимости от того, закрыт или открыт клапан в исходном положении. Если клапан в исходном положении открыт, то пружина стоит в нижней части привода, давит вверх на мембрану и тянет клапан наверх, в открытое положение. В верхнюю часть привода подается рабочая среда или подготовленный воздух из компрессора с давлением большим или равным давлению, которое пружина оказывает на мембрану снизу. Если давление газа больше, то пружина сжимается, мембрана прогибается вниз и клапан закрывается. Подача газа в верхнюю полость осуществляется при помощи электромагнитного клапана. Таким образом оператор удаленно может управлять запорным элементом криогенного трубопровода.
Преимуществом криогенного пневмопривода Baitu является его высокая скорость работы и возможность дистанционного управления, что делает его идеальным решением для автоматизированных систем. Пневмоприводы для запорной и регулировочной арматуры способны выдерживать рабочее давление до 32 МПа и могут быть использованы в самых требовательных условиях.
|
PN 32 МПа DN Ø10~Ø25 Температура среды: -196°С до +80°С Среда:LNG, LO2, LN, LAr, CO2
|
|
Рис. 3 Криогенные вентили с пневмоприводом Baitu на высокое давление
Криогенные вентили Baitu на высокое давление Рис. 4
Особое внимание следует уделить на новый запорный криогенный вентиль, способный работать под давлением до 32 МПа. Он спроектирован с учетом самых современных стандартов безопасности и технологических требований, что делает его идеальным решением для применения в критических условиях. Устойчивость к экстремальным температурам и давлению, а также высокая степень надежности и долговечности делают этот вентиль выдающимся компонентом среди аналогичных изделий на рынке.
|
PN 32 МПа DN Ø10~Ø25 Температура среды: -196°С до +80°С Среда:LNG, LO2, LN, LAr, CO2 |
|
Рис. 4 Криогенные вентили на высокое давление
В заключение, расширение нашей линейки криогенной арматуры открывает новые горизонты для индустрии, устанавливая новые стандарты надежности и безопасности. Мы уверены, что наше новое предложение поможет вам оптимизировать промышленные процессы, повысить безопасность и снизить операционные риски. Надеемся, что вы оцените преимущества этой криогенной арматуры и выберете наши решения для своих нужд. Ваш успех – наша цель.
С уважением к Вам
Менеджер по работе с корпоративными
клиентами ООО "Крионика"
Кравец Егор
Тел.: +7(3412) 56-55-97
E-mail: info@predklapan.ru
|
Оформите заявку на сайте, мы свяжемся с вами в ближайшее время и ответим на все интересующие вопросы.
|
Задать вопрос
|
