Газовые регуляторы давления (редукторы)
Введение
Газовый регулятор давления (редуктор) – это специальное устройство, которое используется для снижения давления газа либо же различного рода газовой смеси в емкостях (как правило, это баллоны и газопроводы) до рабочего уровня. Также, такие редукторы могут применяться еще и для поддержания в автоматическом режиме давления на постоянном уровне, не зависимо от того, изменения уровня давления газа в емкости.
Применяются редукторы практически везде, где речь идет о газовом оборудовании, будь то устройства, работающие на горючих (метане, водороде и др.) или инертных (азот, гелий и проч.) газах. Типичным бытовым примером является редуктор для газового баллона, известный также как «лягушка».
Автомобилисты, оснастившие свои машины экономичным газобаллонным оборудованием, также знакомы с данным устройством. Сжиженный (или сжатый) газ в таких системах тоже предварительно направляется в редуктор пропан-бутановой смеси (или метановый), а затем поступает в карбюратор или инжектор.
Газовый редуктор находит применение и в промышленности. В местах перехода от крупных магистралей к локальным сетям требуется значительное снижение давления. Здесь используются мощные и крупногабаритные редукторы.
Рисунок №1. Схема работы регулятора давления.
На рисунке схематически изображен газовый редуктор. Все редукторы устроены похоже. Отличия только в размере деталей, их конструктивном исполнении, диаметрах отверстий и площади мембраны. На схеме показана мембрана (1), пружина (2).
Когда в нижней части редуктора (под мембраной) давление ниже номинального, шайба (3) на мембране и коромысло (4), шарнирно связанное с ней, опущены, входное отверстие открыто. Газ поступает из входного патрубка. Когда давление достигает необходимой величины, шайба и коромысло поднимаются и закрывают входной клапан. Давление, при котором это происходит, определяется площадью мембраны, упругостью пружины и, в некоторой степени, усилием, которое необходимо приложить для закрытия впускного клапана.
В приведенной схеме мембрана прижата пружиной. Верхняя камера через отверстие связана с окружающей средой. Встречаются герметичные модификации редукторов, в которых верхнего отверстия и пружины нет. В них пространство над мембраной заполнено инертным газом под давлением, что и обеспечивает упругость.
Наконец, в клапанах пропорциональной подачи применяется комбинация пружины и давления газа. При этом верхнее отверстие имеется, но оно соединено трубкой с той областью, куда нужно подавать газ. Таким образом, достигается зависимость давления подаваемого газа от давления в том месте, куда он подается (пропорциональная подача).
Одним из важных параметров редуктора является максимальный расход газа. Этот параметр определяется диаметром отверстия впускного клапана, так как от этого диаметра зависит, сколько газа при заданном входном давлении пропустит редуктор при полностью открытом клапане. Делать это отверстие слишком большим, как Вы увидите ниже, не получается. Так что всегда нужно убедиться, что редуктор может обеспечить достаточный расход для Ваших целей.
Виды регуляторов давления
1. Регуляторы непосредственного действия
В регуляторе непосредственного действия управление происходит за счет энергии регулируемой среды. Область применения этих регуляторов ограничена. Они не приспособлены к переходу на дистанционное управление регулирующим органом, не способны развивать значительных усилий, а также не могут производить сложного регулирующего воздействия. Принцип действия описан выше (рисунок №1)
Регуляторы непосредственного действия являются наиболее распространенным типом регуляторов. Их достоинствами являются простота конструкции, отсутствие вспомогательных агрегатов и простота обслуживания, относительно низкая стоимость, надежность в эксплуатации, не потребляют энергию от посторонних источников, пожаро - и взрывобезопасны (не имеют искрообразующих элементов). Однако такие регуляторы имеют и ряд недостатков, к числу которых относится необходимость создания чувствительным элементом значительных перестановочных усилий, передаваемых органам управления, что увеличивает габариты самого регулятора.
Регуляторы непосредственного действия обладают меньшей чувствительностью, чем регуляторы непрямого действия. У регулятора непрямого действия силы трения преодолеваются за счет постороннего источника энергии и не требуют значительного изменения усилий на мембрану. Поэтому процесс регулирования происходит здесь более спокойно, без толчков.
Регуляторы непосредственного действия применяют для автоматического регулирования давления, перепада давлений, уровня, расхода и температуры жидких и газообразных сред. Регуляторы непосредственного действия со статической характеристикой имеют неравномерность, достигающую 15 - 25 %.
Рисунок №2. Регулятор непосредственного действия.
Регуляторы непосредственного действия делятся на регуляторы прямого и обратного действия.
1.1. Регулятор прямого действия.
У конструкции регуляторов прямого действия – падающие характеристики, что значит, что рабочее давление по мере израсходования газа также снижается, а у редукторов обратного действия, все обратно пропорционально – газ расходуется, а рабочее давление только возрастает. Несмотря на то, что редукторы этих видов разнятся и своей конструкцией, и принципом действия, в их устройстве используются одинаковые детали. Редуктор предназначен для регулирования давления на выходе из редуктора.
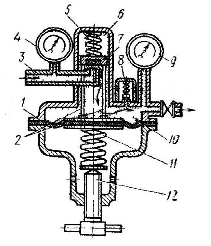
Рисунок №3. Схема работы регулятора прямого действия
В редукторах прямого действия газ проходит через штуцер 3, попадая в камеру высокого давления 6 и действуя на клапан 7, стремится открыть его (а в редукторах обратного действия — закрыть его). Редуцирующий клапан 7 прижимается к седлу запорной пружиной 5 и преграждает доступ газа высокого давления. Мембрана 1 стремится отвести редуцирующий клапан 7 от седла и открыть доступ газа высокого давления в камеру низкого (рабочего) давления 10. В свою очередь мембрана 1 находится под действием двух взаимно противоположных сил. С наружной стороны на мембрану 1 через нажимной винт 12 действует нажимная пружина 11, которая стремится открыть редуцирующий клапан 7, а с внутренней стороны камеры редуктора на мембрану давит редуцированный газ низкого давления, противодействующий нажимной пружине 11.
При уменьшении давления в рабочей камере нажимная пружина 11 распрямляется, и клапан уходит от седла, при этом происходит увеличение притока газа в редуктор. При возрастании давления в рабочей камере 10 нажимная пружина 11 сжимается, клапан подходит ближе к седлу и поступление газа в редуктор уменьшается. Рабочее давление определяется натяжением нажимной пружины 11, которое изменяется регулировочным винтом 12. При вывертывании регулировочного винта 12и ослаблении нажимной пружины 11 снижается рабочее давление и, наоборот, при ввертывании регулировочного винта сжимается нажимная пружина 11 и происходит повышение рабочего давления газа. Для контроля за давлением на камере высокого давления установлен манометр 4, а на рабочей камере — манометр 9 и предохранительный клапан 8.
1.2. Регулятор обратного действия.
Основное отличие заключается в том, что в редукторах прямого действия газ высокого давления, действуя на клапан, стремится открыть его, а в редукторах обратного действия газ стремится закрыть клапан. Это очень удобно, так как давление на выходе постоянное и почти нет перепадов давления. Поэтому такие редукторы получили очень широкое распространение. Редуктор предназначен для регулирования давления на выходе из редуктора.
Рисунок №4. Схема работы регулятора обратного действия.
Редуктор обратного действия работает следующим образом. Сжатый газ из баллона поступает в камеру высокого давления (8) и препятствует открыванию клапана (9). Для подачи газа в горелку или резак необходимо вращать по часовой стрелке регулирующий винт (2), который ввертывается в крышку (1). Винт сжимает нажимную пружину (3), которая в свою очередь выгибает гибкую резиновую мембрану (4) вверх. При этом передаточный диск со штоком (5) сжимает обратную пружину (7), поднимая клапан (9), который открывает отверстие для прохода газа в камеру низкого давления (13). Открыванию клапана препятствует не только давление газа в камере высокого давления, но и пружина (7), имеющая меньшую силу, чем пружина (3). Автоматическое поддержание рабочего давления на заданном уровне происходит следующим образом.
Если отбор газа в горелку или резак уменьшится, то давление в камере низкого давления повысится, нажимная пружина (3) сожмется и мембрана (4) выправится, а передаточный диск со штоком (5) опустится и редуцирующий клапан (9) под действием пружины (7) прикроет седло клапана (10), уменьшив подачу газа в камеру низкого давления. При увеличении отбора газа процесс будет автоматически повторяться. Давление в камере высокого давления (8) измеряется манометром (6), а в камере низкого давления (13)— манометром (11). Если давленые в рабочей камере повысится сверх нормы, то при помощи предохранительного клапана (12) произойдет сброс газа в атмосферу.
Рисунок №5. Регулятор обратного действия в нерабочем и рабочем положении.
Регуляторы обратного действия могут регулировать давления «до себя» (до регулятора) и «после себя» (после регулятора)
1.2.1. Регулятор давления "до себя"
Регулятор давления "до себя" — это регулирующая трубопроводная арматура прямого действия, которая предназначена для автоматического поддержания давления жидкости или газа, до него по ходу движения.
Рисунок №6. Регулятор «до себя».
Среда проходит через клапан по стрелке. Входное давление через канал 12 в крышке клапана 2 поступает в подмембранную полость привода и создает на мембране усилие, направленное на открытие клапана. С другой стороны мембраны это усилие уравновешивается пружиной 6, поджатие которой можно изменять регулировочным винтом 7. Когда сила, создаваемая на мембране входным давлением, становится больше силы поджатия пружины, мембрана перемещается вверх и через шток 4 поднимает плунжер 3. В седле клапана открывается проход для среды на выход клапана. Часть среды сбрасывается на выход клапана, давление на выходе клапана падает, сила, действующая на мембрану снизу, уменьшается, и пружина закрывает клапан путем опускания плунжера 3 на седло.
1.2.2. Регулятор давления "после себя"
Регулятор давления "после себя" — это автоматический регулятор прямого действия, который предназначен для снижения и поддержания заданного давления на выходе из клапана. Принцип работы описан в пункте 1.1.
Регуляторы прямого действия «после себя» бывают одно- и двухступенчатые.
1.2.2.1. Одноступенчатые регуляторы имеют 1 камеру для снижения давления, принцип работы описан выше. Недостатком таких регуляторов является прямая зависимость давления на выходе от входного давления, низкий диапазон регулирования.
1.2.2.2. Двухступенчатые редукторы
Снижение давления в редукторах этого типа происходит путем двухступенчатого расширения газа. Газ из баллона попадает в камеру высокого давления. В результате первой ступени редуцирования давление газа значительно снижается. В результате второй ступени редуцирования давление газа снижается еще больше и газ переходит в рабочую камеру. Под этим давлением газ поступает к потребителю.
Преимущество двухступенчатого редуктора:
- Возможность установить любое давление на выходе (ниже входного) относительно давления на входе
- Высокая точность настройки давления на выходе
- Исключает скачки давления за счет двухкамерного устройства
Рисунок №7. Двухступенчатый редуктор.
Двухступенчатый редуктор. 1 — теплопоглотитель, 2 — манометр высокого давления, 3 — камера высокого давления, 4 — редукционные клапаны, 5 — канал, 6 — предохранительный клапан, 7 — манометр низкого давления, 8 — диск, 9 — запорный вентиль, 10 — ниппель, 11 — регулировочный винт, 12 —главная пружина, 13 — мембрана, 14 — нажимная пружина, 15 — штуцер, 16 — фильтр, 17 — накидная гайка.
2. Регуляторы давления непрямого действия или пилотные.
Этот тип регуляторов требует для своей работы подвода дополнительной энергии, которой могут служить воздух, газ, жидкость и т. п.
2.1. Если носителем подводимой к регулятору энергии является жидкость под давлением (обычно минеральное масло, реже - вода) – регулятор называется гидравлическим.
2.2. В пневматических регуляторах носителем энергии является сжатый воздух под давлением 1,4 или 6 атм.
2.3. В электрических (электронных) устройствах автоматики применяют электрический ток.
Нередко применяют комбинированные регуляторы, использующие два вида энергии, например, электрогидравлические или электропневматические (первая часть слова относится к информационной части автоматического устройства, вторая – к силовой части).
У регулятора прямого действия чувствительный и управляющий элементы — самостоятельные приборы, отделенные от регулирующего клапана.
Особенность регуляторов непрямого действия — наличие регулятора управления (пилота). Процесс регулирования давления происходит с помощью взаимодействия выходного давления с рабочей мембраной. Газ входного давления поступает в пилот. Пилот поддерживает постоянное давление под рабочей мембраной регулятора. По импульсному трубопроводу газ выходного давления поступает на мембрану. Через дроссель избыток газа после пилота постоянно сбрасывается.
Рисунок №8. Пилотный регулятора давления.
Настройка регуляторов на требуемое выходное давление производится изменением усилия сжатия регулировочной пружины пилота, а также открытием или закрытием проходного сечения регулируемых дросселей. Под мембранная полость пилота сообщена с атмосферой.
Если выходное давление уменьшилось, то уменьшится и давление над рабочей мембраной, клапан вместе с мембраной поднимается, расход газа через регулятор увеличивается, выходное давление возрастает вновь до заданного значения.
Пилотные регуляторы имеют достаточно широкие диапазоны входного и выходного давления и пропускной способности. Это становится возможным из-за особенной конструкции регулятора, при которой под мембранное управляющее давление, создаваемое пилотом, воздействует на рабочую мембрану регулятора, вместо прямого воздействия настоечной пружины на мембрану.
По сравнению с пружинными регуляторами прямого действия, пилотные имеют следующие преимущества:
- возможность обеспечения достаточно широких интервалов выходного регулируемого давления 0,01–0,06 МПа и 0,06–0,6 МПа;
- обеспечение достаточно большой пропускной способности;
- возможность в ряде случаев перенастройки регуляторов на рабочие параметры без прекращения подачи газа к потребителям.
Рисунок №9. Пилотный регулятор давления.
Специальные требования к редукторам в зависимости от рабочей среды:
1. Кислородные редукторы, применяемые при газовой сварке и резке металлов, окрашивают в голубой цвет и крепят к вентилям баллонов накидными гайками.
Все детали, соприкасающиеся с кислородом, должны быть обезжирены. Пружины и другие движущиеся детали, находящиеся в контакте с кислородом, должны быть выполнены из стойких к окислению материалов. На пружины кислородных редукторов допускается наносить защитные покрытия, стойкие среде кислорода.
Рисунок №10. Кислородный редуктор.
2. Пропановый редуктор — используется на разного рода предприятиях (особенно много в машиностроении и металлургии) для проведения автогенных работ (резки, пайки и подогрева) при строительстве (для укладки битумных покрытий) или в быту (газовые плиты). Бывают с постоянно заданным рабочим давлением (устанавливается на заводе-изготовителе) и с возможностью регулировки давления в диапазоне 0-3 кгс/см2.
Пропановые редукторы, применяемые при газовой сварке и резке металлов, окрашивают в красный цвет.
Неметаллические материалы (например используемые в качестве уплотнителей и смазок), контактирующие с пропаном, бутаном и метилацетиленпропадиеновыми смесям, должны быть стойкими к n-пентану.
Рисунок №11. Пропановый редуктор.
3. Ацетиленовые редукторы, применяемые при газовой сварке и резке металлов, окрашивают в белый цвет и крепят к вентилям баллонов накидным хомутом.
Для изготовления деталей, контактирующих с ацетиленом не допускается применять:
- медь и её сплавы с содержанием меди более 65 %;
- серебро и его сплавы (за исключением твердых припоев);
- цинк (за исключением антикоррозионных покрытий);
- ртуть;
- магний.
Неметаллические материалы (например используемые в качестве уплотнителей и смазок), контактирующие с ацетиленом, должны быть стойкими к растворителям: ацетону и диметилформамиду (ДМФ)
Рисунок №12. Ацетиленовый редуктор.
4. Криогенные редукторы предназначенное для работы с продуктами разделения воздуха и редких газов, которое полностью либо частично эксплуатируется при температурах ниже 120 К (минус 153,15 °С). Криогенное оборудование (в том числе редукторы) применяют в металлургии, машиностроении, сельском хозяйстве, пищевой промышленности, химии, энергетике, нефтегазовых комплексах, медицине и биологии, научно-технических исследованиях, хранении и транспортировки самых различных веществ и материалов, космонавтике и многое другое.
Криогенные редукторы сходны по строению с другими редукторами, отличие заключается в материалах, которые используются для их изготовления. Для криогенных регуляторов давления используют материалы устойчивые к низким температурам, такие как нержавеющая сталь, латунь, а для уплотнения PTFE, PTCFE, FEP, PFA.
Рисунок №13. Криогенный редуктор.
Криогенный экономайзер модели DYJ является стандартным представителем регулятора «после себя». Данное устройство позволяет экономить рабочую среду следующим образом: если в емкости или трубопроводе возникает давление выше давления настройки регулятора, он открывается и пропускает рабочую среду через себя, тем самым снижая давление в емкости до давления настройки. Порт выхода экономайзера подключается к продукционному испарителю, либо напрямую в линию потребления. Таким образом, избыточная газовая среда может быть полезно использована, а не потеряна через предохранительный клапан.
Маркировка редукторов по применяемому газу
ацетиленовые (А)
водородные (В)
кислородные (К)
пропан-бутановые (П)
метановые (М);
При выборе регуляторов давления газа необходимо учитывать следующие факторы:
- тип оборудования и процесса;
- максимальный и минимальный требуемый расход газа;
- максимальное и минимальное входное давление;
- максимальное и минимальное выходное давление;
- точность регулирования (максимально допустимое отклонение регулируемого давления и время переходного процесса регулирования);
- необходимость полной герметичности при закрытии регулятора;
- акустические требования к работе регуляторов с высокими входными давлениями и большими расходами газа;
- пропускная способность.
Основным требованием при подборе регулятора давления - обеспечение устойчивости его работы на всех возможных режимах, что проще всего добиться правильным выбором регулятора для того или иного объекта. Для тупикового газопровода (с отбором газа в конце газопровода) следует применять регуляторы прямого действия. В случае больших расходов газа — непрямого действия. Для кольцевых и разветвленных газовых сетей, учитывая их способность к самовыравниванию, в принципе можно использовать любые типы регуляторов, но так как эти сети имеют обычно большие расчетные расходы, то лучше применять регуляторы непрямого действия (с пилотом). Эти регуляторы позволяют более точно поддерживать давление после себя.
Неравномерность регулирования у регуляторов давления прямого действия ±(0–20) %, непрямого действия (с пилотом).
При подключении к сетям высокого давления, давление в которых будут значительные колебания может оказаться, что одноступенчатого снижения давления будет недостаточно. В этом случае следует либо выбирать двухступенчатый регулятор давления, либо применить двухступенчатое редуцирование, при котором первым регулятором давление снижается до промежуточного значения, а вторым — до необходимого с высокой точностью.
При выборе регулятора давления необходимо учитывать явления, связанные с шумом работающего регулятора. Можно установить гаситель шума.
Автор статьи:
специалист по работе с корпаративными клиентами
ООО "Крионика"
Домашних Елена Петровна
