Скачать тех лист

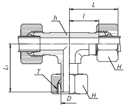
| Серия | Кодировка | Наружный диаметр трубы O.D. | D | H | h | L | L1 | l | T | PN(бар) | ||
| угл. сталь | SS316 | Латунь | ||||||||||
| L | DBTA-06L | 6 | 6 | 14 | 12 | 27 | 26,0 | 12,0 | M 12x1,5 | 315 | 315 | 200 |
| DBTA-08L | 8 | 8 | 17 | 12 | 29 | 27,5 | 14,0 | M 14x1,5 | 315 | 315 | 200 | |
| DBTA-10L | 10 | 10 | 19 | 14 | 30 | 29,0 | 15,0 | M 16x1,5 | 315 | 315 | 200 | |
| DBTA-12L | 12 | 12 | 22 | 17 | 32 | 29,5 | 17,0 | M 18x1,5 | 315 | 315 | 200 | |
| DBTA-15L | 15 | 15 | 27 | 19 | 36 | 32,5 | 21,0 | M 22x1,5 | 315 | 315 | 200 | |
| DBTA-18L | 18 | 18 | 32 | 24 | 40 | 35,5 | 23,5 | M 26x1,5 | 315 | 315 | 200 | |
| DBTA-22L | 22 | 22 | 36 | 27 | 44 | 38,5 | 27,5 | M 30x2 | 160 | 160 | ||
| DBTA-28L | 28 | 28 | 41 | 36 | 47 | 41,5 | 30,5 | M 36x2 | 160 | 160 | ||
| DBTA-35L | 35 | 35 | 50 | 41 | 56 | 51,0 | 34,5 | M 45x2 | 160 | 160 | ||
| DBTA-42L | 42 | 42 | 60 | 50 | 63 | 56,0 | 40,0 | M 52x2 | 160 | 160 | ||
| S | DBTA-06S | 6 | 6 | 17 | 12 | 31 | 27,0 | 16,0 | M 14x1,5 | 630 | 630 | |
| DBTA-08S | 8 | 8 | 19 | 14 | 32 | 27,5 | 17,0 | M 16x1,5 | 630 | 630 | ||
| DBTA-10S | 10 | 10 | 22 | 17 | 34 | 30,0 | 17,5 | M 18x1,5 | 630 | 630 | ||
| DBTA-12S | 12 | 12 | 24 | 17 | 38 | 31,0 | 21,5 | M 20x1,5 | 630 | 630 | ||
| DBTA-14S | 14 | 14 | 27 | 19 | 40 | 35,0 | 22,0 | M 22x1,5 | 400 | 400 | ||
| DBTA-16S | 16 | 16 | 30 | 24 | 43 | 36,5 | 24,5 | M 24x1,5 | 400 | 400 | ||
| DBTA-20S | 20 | 20 | 36 | 27 | 48 | 44,5 | 26,5 | M 30x2 | 400 | 400 | ||
| DBTA-25S | 25 | 25 | 46 | 36 | 54 | 50,0 | 30,0 | M 36x2 | 400 | 400 | ||
| DBTA-30S | 30 | 30 | 50 | 41 | 62 | 55,0 | 35,5 | M 42x2 | 400 | 400 | ||
| DBTA-38S | 38 | 38 | 60 | 50 | 72 | 63,0 | 41,0 | M 52x2 | 315 | 315 | ||
ООО "Крионика" работает только с юридическими лицами. Оплата производится безналичным путем, на основании счета на оплату. Счета общей суммой до 100 000,00 рублей с НДС не требуют оформления Договора. Счета суммой более 100 000,00 рублей с НДС требуют оформления Договора. Срок действия счета на оплату 4 рабочих дня.
Самовывоз
После уведомления о готовности товара, Вы можете забрать его в пункте выдачи по адресу: г. Ижевск, ул. Буммашевская, д. 7/1, оф. 309.
Доставка по России
При оформлении заказа, укажите способ Доставки "Транспортной компанией". По факту готовности товара, мы оформим забор груза с нашего склада и закажем доставку товара до вашего города, или по конкретному адресу. Право выбора транспортной компании остается за отправителем, если иное не указано в комментарии к Заказу или Договоре. Доставку оплачивает Получатель.
Включить в стоимость товара
Наши менеджеры самостоятельно оценят затраты на транспортировку Товара до Вашего склада, включат эту сумму в стоимость товара, оформят забор, межтерминальную доставку и доставку по вашему городу. Расчеты с транспортной компаний осуществляет отправитель, страховые риски во время транспортировки несет отправитель.
