Скачать тех лист
BSPP цилиндрическая резьба
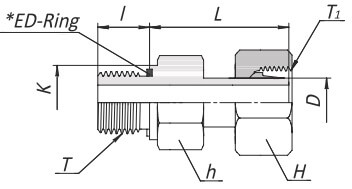
| Серия | Кодировка | Наружный диаметр трубы O.D. | H | h | K | L | l | T BSPP | T1 | PN(бар) | ||
| Угл.сталь | SS316 | Латунь | ||||||||||
| L | DA-08L-02GED | 8 | 17 | 19 | 19 | 29,5 | 12 | 1/4 | M 14x1,5 | 315 | 315 | 200 |
| DA-10L-02GED | 10 | 19 | 19 | 19 | 27,5 | 12 | 1/4 | M 16x1,5 | 315 | 315 | 200 | |
| DA-12L-03GED | 12 | 22 | 22 | 22 | 34,0 | 12 | 3/8 | M 18x1,5 | 315 | 315 | 200 | |
| DA-15L-04GED | 15 | 27 | 27 | 27 | 32,0 | 14 | 1/2 | M 22x1,5 | 315 | 315 | 200 | |
| DA-18L-04GED | 18 | 32 | 27 | 27 | 31,5 | 14 | 1/2 | M 26x1,5 | 315 | 315 | 200 | |
| DA-22L-06GED | 22 | 36 | 32 | 32 | 32,5 | 16 | 3/4 | M 30 x 2 | 160 | 160 | 100 | |
| DA-28L-08GED | 28 | 41 | 41 | 40 | 35,0 | 18 | 1 | M 36 x 2 | 160 | 160 | ||
| DA-35L-10GED | 35 | 50 | 50 | 50 | 42,5 | 20 | 1 1/4 | M 45 x 2 | 160 | 160 | ||
| DA-42L-12GED | 42 | 60 | 55 | 55 | 46,5 | 22 | 1 1/2 | M 52 x 2 | 160 | 160 | ||
| S | DA-06S-02GED | 6 | 17 | 19 | 19 | 27,0 | 12 | 1/4 | M 14x1,5 | 630 | 630 | |
| DA-08S-02GED | 8 | 19 | 19 | 19 | 29,5 | 12 | 1/4 | M 16x1,5 | 630 | 630 | ||
| DA-10S-03GED | 10 | 22 | 22 | 22 | 32,0 | 12 | 3/8 | M 18x1,5 | 630 | 630 | ||
| DA-12S-03GED | 12 | 24 | 22 | 22 | 34,0 | 12 | 3/8 | M 20 x1,5 | 630 | 630 | ||
| DA-12S-04GED | 12 | 24 | 27 | 27 | 34,5 | 14 | 1/2 | M 20x1,5 | 630 | 630 | ||
| DA-14S-04GED | 14 | 27 | 27 | 27 | 36,5 | 14 | 1/2 | M 22x1,5 | 630 | 630 | ||
| DA-16S-04GED | 16 | 30 | 27 | 27 | 37,0 | 14 | 1/2 | M 24x1,5 | 400 | 400 | ||
| DA-16S-06GED | 16 | 30 | 32 | 32 | 39,0 | 16 | 3/4 | M 24x1,5 | 400 | |||
| DA-20S-06GED | 20 | 36 | 32 | 32 | 43,0 | 16 | 3/4 | M 30 x 2 | 400 | 400 | ||
| DA-25S-08GED | 25 | 46 | 41 | 40 | 48,0 | 18 | 1 | M 36 x 2 | 400 | 400 | ||
| DA-30S-10GED | 30 | 50 | 50 | 50 | 51,0 | 20 | 1 1/4 | M 42 x 2 | 400 | 400 | ||
| DA-38S-12GED | 38 | 60 | 55 | 55 | 60,0 | 22 | 1 1/2 | M 52 x 2 | 315 | 315 | ||
Метрическая цилиндрическая
| Серия | Кодировка | Наружный диаметр трубы O.D. | H | h | K | L | l | Tметрическая | T1 | PN(бар) | |
| угл.сталь | SS316 | ||||||||||
| L | DA-06L-M10ED | 6 | 14 | 14 | 14 | 24,5 | 8 | М 10х 1 | М 12x1,5 | 315 | 315 |
| DA-08L-M12ED | 8 | 17 | 17 | 17 | 26,5 | 12 | М 12х1,5 | М 14x1,5 | 315 | 315 | |
| DA-10L-M14ED | 10 | 19 | 19 | 19 | 27,5 | 12 | М 14х1,5 | М 16x1,5 | 315 | 315 | |
| DA-12L-M16ED | 12 | 22 | 22 | 22 | 30,5 | 12 | М 16х1,5 | М 18x1,5 | 315 | 315 | |
| DA-15L-M18ED | 15 | 27 | 24 | 24 | 31,5 | 14 | М 18х1,5 | М 22x1,5 | 315 | 315 | |
| DA-18L-M22ED | 18 | 32 | 27 | 27 | 31,5 | 14 | М 22x1,5 | М 26x1,5 | 315 | 315 | |
| DA-22L-M26ED | 22 | 36 | 32 | 32 | 32,5 | 16 | М 26x1,5 | М 30x2 | 160 | 160 | |
| DA-28L-M33ED | 28 | 41 | 41 | 40 | 35,0 | 18 | М 33 х2 | М 36x2 | 160 | 160 | |
| DA-35L-M42ED | 35 | 50 | 50 | 50 | 42,5 | 20 | М 42x2 | М 45х2 | 160 | 160 | |
| DA-42L-M48ED | 42 | 60 | 55 | 55 | 46,5 | 22 | М 48x2 | М 52x2 | 160 | 160 | |
| S | DA-06S-M10ED | 6 | 17 | 17 | 17 | 27,0 | 12 | М 12х1,5 | М 14x1,5 | 630 | 630 |
| DA-08S-M14ED | 8 | 19 | 19 | 19 | 29,5 | 12 | М 14х1,5 | М 16x1,5 | 630 | 630 | |
| DA-10S-M16ED | 10 | 22 | 22 | 22 | 32,0 | 12 | М 16х1,5 | М 18x1,5 | 630 | 630 | |
| DA-12S-M18ED | 12 | 24 | 24 | ||||||||
ООО "Крионика" работает только с юридическими лицами. Оплата производится безналичным путем, на основании счета на оплату. Счета общей суммой до 100 000,00 рублей с НДС не требуют оформления Договора. Счета суммой более 100 000,00 рублей с НДС требуют оформления Договора. Срок действия счета на оплату 4 рабочих дня.
Самовывоз
После уведомления о готовности товара, Вы можете забрать его в пункте выдачи по адресу: г. Ижевск, ул. Буммашевская, д. 7/1, оф. 309.
Доставка по России
При оформлении заказа, укажите способ Доставки "Транспортной компанией". По факту готовности товара, мы оформим забор груза с нашего склада и закажем доставку товара до вашего города, или по конкретному адресу. Право выбора транспортной компании остается за отправителем, если иное не указано в комментарии к Заказу или Договоре. Доставку оплачивает Получатель.
Включить в стоимость товара
Наши менеджеры самостоятельно оценят затраты на транспортировку Товара до Вашего склада, включат эту сумму в стоимость товара, оформят забор, межтерминальную доставку и доставку по вашему городу. Расчеты с транспортной компаний осуществляет отправитель, страховые риски во время транспортировки несет отправитель.
