Скачать тех.лист
Скачать опросный лист
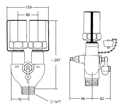
Характеристики
- Обеспечивает ремонт и замену клапана без отключения и опорожнения резервуара.
- Специальная конструкция уплотнения седла обеспечивает минимум турбулентности и высокую призводительность.
- Переключатель блокируется только в средней позиции или в позиции герметизации любого из предохранительных клапана. Установка желоночного переключателя в промежуточную позицию может ограничить поток через один из предохранительных клапанов, вызывая вибрацию и может повредить эластичный седельный диск.
- Резиновая заглушка на цепочке обеспечивает защиту выходных соединений при удаленном предохранительном клапане.
- «Хлопковая» конструкция обеспечивает максимальную защиту при минимальных выбросах газа при умеренных скачках давления.
- Эластичный диск седла гарантирует «беспузырьковое» уплотнение.
- Предохранительные клапаны одобрены ASME для использования со сжиженным газом и безводным аммиаком.

|
Номер изделия |
Пороговое давление срабатыва- ния, кПа |
Для продукта |
Соединение для резервуара M . NPT |
Комплектация клапана Duoport® |
Поток по воздуху**, куб. м/мин |
|||||
|
Количество |
Номер изделия |
Входное соединение M.NPT |
Прочие принадлежности |
UL (при 120% от давления срабатывания) |
ASME (при 120% от давления срабатывания) |
|||||
|
С жиж. газ |
NH 3 |
Переходник для трубки |
||||||||
|
8542G |
2394 |
да |
нет |
2” |
2 |
3135MG |
1¼” |
3135-10* |
148,7 (1) |
не применимо |
|
AA8542UA250 |
нет |
да |
AA3135MUA250 |
AA3135-10* |
182,1 (1) |
179,6 (1) |
||||
|
AA8542UA265 |
1827 |
AA3135MUA265 |
187,3 (1) |
189,8 (1) |
||||||
Материалы
|
Корпус |
Вязкая Сталь |
|
Желоночный запорный диск |
Нержавеющая сталь |
|
Сливной клапан |
Нержавеющая сталь |
| Пружина | Нержавеющая сталь |
|
Диск седла |
Эластичная резина |
Материалы предохранительного клапана
|
Корпус |
Алюминиевое литье |
|
Пружина |
Нержавеющая сталь |
|
Направляющая пружины |
Алюминий |
| Диск седла | Эластичная резина |
ООО "Крионика" работает только с юридическими лицами. Оплата производится безналичным путем, на основании счета на оплату. Счета общей суммой до 100 000,00 рублей с НДС не требуют оформления Договора. Счета суммой более 100 000,00 рублей с НДС требуют оформления Договора. Срок действия счета на оплату 4 рабочих дня.
Самовывоз
После уведомления о готовности товара, Вы можете забрать его в пункте выдачи по адресу: г. Ижевск, ул. Буммашевская, д. 7/1, оф. 309.
Доставка по России
При оформлении заказа, укажите способ Доставки "Транспортной компанией". По факту готовности товара, мы оформим забор груза с нашего склада и закажем доставку товара до вашего города, или по конкретному адресу. Право выбора транспортной компании остается за отправителем, если иное не указано в комментарии к Заказу или Договоре. Доставку оплачивает Получатель.
Включить в стоимость товара
Наши менеджеры самостоятельно оценят затраты на транспортировку Товара до Вашего склада, включат эту сумму в стоимость товара, оформят забор, межтерминальную доставку и доставку по вашему городу. Расчеты с транспортной компаний осуществляет отправитель, страховые риски во время транспортировки несет отправитель.
