Изменение в конструктиве газификатора
Очередная отгрузка криогенных емкостей для нашего оптового покупателя (о условия для оптовых покупателей чуть ниже)
Наш клиент продавец технических газов, продавая сжиженный газ предлагает криогенное оборудование повышая лояльность клиентов. В это раз клиент разместил заказ га 3 газификатора гхк 0,5/1,6-30 . Наша компания ориентируется на высокое качество продукции. Выполняя заказ в сжатое время, практически невозможно сделать изделие максимально качественно. Зная это,мы производим изделия на склад. В этот раз клиент оплатил уже готовые к отгрузке изделия. Передав техническое задание на производство, подготовили груз к отправке:
- Провели опрессовку емкостей
- Проверили соответствие документации заказ наряду
- Упаковали
- Отгрузили за 3 рабочих дня.
Мы помогли клиенту оперативно решить потребность 3 газификаторов ГХК 0,5/1,6-30 по приятной, оптовой цене забрав на себя все вопросы логистики.
Помимо оперативных сроков отгрузки решения сопутствующих вопросов клиента в этом новостном сообщении хочу обратить внимание на изменения в конструктиве емкости от Китайского завода производителя емкостей Runfeng.
а) б)
Рис.1 Газификатор ГХК 0,5/1,6-30.
а) новое исполнение.
б) старое исполнение.
ИТАК, справа старое исполнение, слева новое исполнение 2024года. В Старом исполнении объединены линия выдачи жидкого продукта с линией подъема давления, то есть из емкости выходит 1 труба, через тройник разделяется на 2 линии. В новом исполнении линия подъема давления и линия выдачи жидкости потребителю разделены. При этом в новом исполнении наши китайские друзья объединили линию выдачи жидкости потребителю и линию заправки. Из емкости выходит одна труба и через тройник разделяется на две линии. Очень похоже на косметические изменения, но не все так просто.
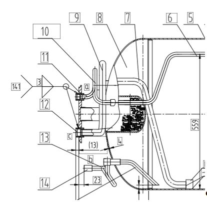
Рис.2 Трубопроводы заправки, выдачи жидкого продукта в межстенном пространстве емкостей газификатора. Трубопровод С заправка жидкого продукта, трубопровод b выдача жидкого продукта. Трубопровод а соединен с линией газосброса и эл. Уровнемером МD-2A.
Конфигурация трубопроводов (Рис. 2) упростило течение жидкости из внутренней емкости в линию выдачи жидкого продукта. В старом исполнении (Рис. 1 б) жидкость текла по трубопроводу b (Рис. 2), в новом исполнении (Рис. 1 а)) жидкость течет по трубопроводу С (Рис. 2). Учитывая разницу в диаметре и длине трубопроводов можно сделать вывод, что в новом исполнении сжиженный газ преодолевает меньшее сопротивление при движении по трубопроводу С (Рис. 2). Объединение трубопровода выдачи жидкого продукта и трубопровода заправки привела к увеличению объема поступаемого сжиженного газа в атмосферный, продукционный испаритель , сокращению времени настройки регулятора подъема давления. Эргономическое расположение вентиля и регулятора линии подъема давления позволило сократить случаи их повреждения при обслуживании газификатора или его заправке.
Рис. 3 положение трубопроводов заправки и выдачи жидкого продукта. Трубопровод С заправка+ выдача жидкости потребителю, трубопровод b линия подъема давления.
Положение трубопровода С заправки, трубопровода b линии подъема давления (Рис 3) позволяет держать на дне внутренней емкости остаток сжиженного продукта. Остаток продукта позволяет емкости быть готовой к последующей заправке без захолаживания. Захолаживание - это процесс в результате, которого температура внутреннего сосуда газификатора опускается до температуры среды заправляемого сжиженного газа. Цель этого процесса исключение активного кипения среды и сокращение потерь при заправке газификатора.
А теперь не маловажная информация о том, как стать нашим оптовым покупателем и какие у нас могут быть "плюшки".
За последние годы происходила неоднократная смена полюсов при выборе производителя криогенного оборудования. В этой ситуации поставщики криогенного оборудования и арматуры показали свою гибкость на рынке. В это непростое время наша компания показала себя как надежного, компетентного и стабильного поставщика газификаторов, криогенной арматуры, атмосферных испарителей, коллекторов (рамп) различных модификаций
Мы имеем более, чем 10 летний опыт поставок криогенного оборудования и арматуры от таких мировых производителей как:
Feilun, GCE , Herose, Runfeng, Furuise, BAITU, CIMC Sanctum Cryogenic Equipment Co, Stellberg, CCK, Hy-Lok, A-Flow, Meca-inox, REGO, Pi.Effe.Ci
Мы можем предложить лучшие условия на рынке по поставке, качеству оборудования и его вариативности, сервису, гарантии и пост гарантийным обязательствам, чем конкуренты. Подход для каждого клиента, как розничного, так и оптового гибкий и индивидуален.
Криогенное оборудование и арматура специфический, сложный и узконаправленный товар. Держать его на своем складе по принципу "понадобиться позже" нецелесообразно и дорого. Бизнес работает от заказов, имея небольшой запас нужных комплектующих для производства.
Учитывая эти аспекты, мы всегда имеем на нашем складе огромный запас номенклатуры как по арматуре, так и по криогенным емкостям. Нашим постоянным клиентам не нужно "закапывать" деньги на дорогостоящие запасные части и неликвидные складские остатки. Экономьте на складских помещениях, обслуживающем персонале, разрешительной документации, головной боли при работе с государственными органами и другими мало приятными заботами. НЕ забывайте что ВЭД и вс. Сертификацию мы тоже берем на себя.
Как же стать нашим оптовым покупателем?
У нас есть два направления для оптовой закупки - криогенная арматура и газификаторы. Ниже описаны классические варианты взаимоотношений с оптовыми покупателями.
1. Для того что бы стать оптовым покупателем криогенной арматуры:
Условие:
Необходимо приобрести арматуру в течении 1 года на сумму 100 000 руб. с НДС 20%, одной или не сколькими сделками.
Что получаете:
Оптовый ценник на всю линейку криогенной арматуры Feilun, до 50 %.
Ограничений по сроку действия оптовой цены - нет
Возможные дополнительные плюшки(примеры):
Доставка за наш счет;
Условия оплаты: от разделения оплаты на части до пост. оплаты в течение 2 месяцев после получения продукции;
Оплата позиций под заказ: предоплата до 10% от общей суммы заказа;
Отгрузка без оплаты в рамках суммы оговоренной как квартальный лимит;
2. Для того что бы стать оптовым покупателем криогенный емкостей (газификаторов):
Условие:
Необходимо приобрести 3 емкости и/или газификаторы в течение 1 года, одной или не сколькими сделками.
Что получаете:
- Оптовый ценник на всю стандартную линейку газификаторов, от 15 до 40%
Ограничений по сроку действия оптовой цены – нет.
- Оптовый ценник на всю линейку криогенной арматуры Feilun, до 50 %
Ограничений по сроку действия оптовой цены – нет.
Возможные дополнительные плюшки(примеры):
Условия оплаты: от разделения платы на части до пост оплаты в течении 2 месяцев после получения продукции;
Оплата позиций под заказ: предоплата до 10% от общей суммы заказа;
Отгрузка без оплаты в рамках суммы оговоренной как квартальный лимит;
Вот один из примеров части наших договоренностей с оптовым покупателем
|
|
Договорные условия |
|
|
Для розничного покупателя |
Для оптового покупателя |
|
|
Гарантия |
12 месяцев |
24 месяцев |
|
Перенастройка пред. клапана |
Платная услуга |
Входит в стоимость |
|
Условия оплаты |
100% оплата на момент готовности к отгрузке |
Беспроцентная отсрочка на 3 месяца после получения продукции |
|
Условия оплаты товара под заказ |
100% оплата |
До 10 % от стоимости заказа |
|
Стоимость |
Среднерыночная цена |
Цена на 50 % ниже рынка |
|
Доставка |
Платная доставка товара |
Бесплатная доставка товара |
|
Складские запасы |
Продажа из наличия или под заказ |
Приобретаем позиции под клиента без заказа с его стороны |
С уважением к Вам
Менеджер по работе с корпоративными
клиентами ООО "Крионика"
Кравец Егор
Тел.: +7(3412) 56-55-97
E-mail: info@predklapan.ru
|
Оформите заявку на сайте, мы свяжемся с вами в ближайшее время и ответим на все интересующие вопросы.
|
Задать вопрос
|
