Скачать опросный лист
Характеристики
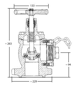
- Конструкция подпружиненного V-образного уплотнения обеспечивает герметическую работу. Не требует регулировки и замены.
- Защитная прокладка исключает попадание песка и мусора на стержень, что обеспечивает нормальное функционирование.
- Усиленная быстродействующая резьба ACME на штоке обеспечивает долгий срок службы.
- Шарнирный диск седла минимизирует истирание уплотнителя и обеспечивает герметичное запирание канала.
- Большое седло гарантирует хорошую производительность и небольшой спад давления.
- Соединение 1/4" NPT предназначено для встраивания гидростатического предохранительного или вентиляционного клапана.
- Выходное отверстие оснащено металлической заглушкой на цепочке.

|
Номер изделия |
Вход,(F.NPT) |
Выход,(F.NPT) |
Поток при перепаде давления 6,9 кПа ( Cv ) по пропану*, л/мин |
Комплектующие |
|
|
Гидростатический предохр. клапан |
Дренажный клапан |
||||
|
TA7894P |
Фланец для цистерн |
2” |
772 |
SS8001U |
TSS3169 |
Материалы
Корпус | Вязкая сталь |
| V-образный уплотнитель | Тефлон |
| Кольцевые прокладки | Полимер |
Стержень | Бронза |
| Крышка | Вязкая сталь |
| Диск седла | Тефлон |
| Регулировочный маховик | Вязкая сталь с кадмиевым покрытием |
ООО "Крионика" работает только с юридическими лицами. Оплата производится безналичным путем, на основании счета на оплату. Счета общей суммой до 100 000,00 рублей с НДС не требуют оформления Договора. Счета суммой более 100 000,00 рублей с НДС требуют оформления Договора. Срок действия счета на оплату 4 рабочих дня.
Самовывоз
После уведомления о готовности товара, Вы можете забрать его в пункте выдачи по адресу: г. Ижевск, ул. Буммашевская, д. 7/1, оф. 309.
Доставка по России
При оформлении заказа, укажите способ Доставки "Транспортной компанией". По факту готовности товара, мы оформим забор груза с нашего склада и закажем доставку товара до вашего города, или по конкретному адресу. Право выбора транспортной компании остается за отправителем, если иное не указано в комментарии к Заказу или Договоре. Доставку оплачивает Получатель.
Включить в стоимость товара
Наши менеджеры самостоятельно оценят затраты на транспортировку Товара до Вашего склада, включат эту сумму в стоимость товара, оформят забор, межтерминальную доставку и доставку по вашему городу. Расчеты с транспортной компаний осуществляет отправитель, страховые риски во время транспортировки несет отправитель.
