Скачать опросный лист
Характеристики:
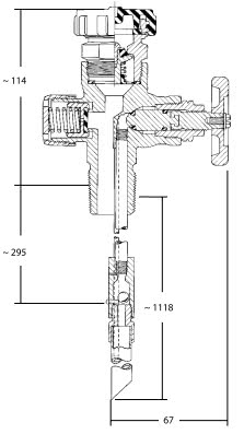
- Объединяет в одном узле клапан для отбора газообразной фазы СУГ, наполнительный клапан большой производительности, трубку для контроля уровня жидкости в баллоне, разъем для отбора жидкой фазы СУГ со скростным клапаном и предохранительный клапан.
- Соединение CGA 555 минимизирует возможность случайного соединения с трубопроводом паровой фазы.
- Оснащены латунной трубкой отбора жидкой фазы длиной 1120 мм и внешним диаметром 1/2’’.
- Трубка отвода жидкой фазы имеет скоростной клапан с шариковым затвором, срабатывающим под напором газа.
- Квадратный прилив 35 мм для ввинчивания клапана.

|
Номер изделия |
Вход |
Выход |
Разъем для наполнения |
исполнение маховика |
Длина патруб- ка пробника с дефлектором, мм |
Длина конт- рольной трубки для отбора газа, мм |
Заводская настройка |
Для баллонов емкостью до, кг |
Поток закрыти клапана (по жидкой фазе), л/мин*** |
|
8555DL11.6 |
¾” M.NGT |
CGA 555* |
1¾” M. ACME |
рубчатая насечка |
295 |
1118 |
2585 кПа |
45,5** |
6,44 |
|
Корпус |
Прессованная латунь |
|
Маховик |
Литой алюминий |
|
Стержень |
Латунь |
|
Кольцевые прокладки |
Эластичная резина |
|
Диск седла на запорном клапане |
Нейлон |
| Прочие диски седла | Эластичная резина |
| Уравновешивающая пружина | Нержавеющая сталь |
ООО "Крионика" работает только с юридическими лицами. Оплата производится безналичным путем, на основании счета на оплату. Счета общей суммой до 100 000,00 рублей с НДС не требуют оформления Договора. Счета суммой более 100 000,00 рублей с НДС требуют оформления Договора. Срок действия счета на оплату 4 рабочих дня.
Самовывоз
После уведомления о готовности товара, Вы можете забрать его в пункте выдачи по адресу: г. Ижевск, ул. Буммашевская, д. 7/1, оф. 309.
Доставка по России
При оформлении заказа, укажите способ Доставки "Транспортной компанией". По факту готовности товара, мы оформим забор груза с нашего склада и закажем доставку товара до вашего города, или по конкретному адресу. Право выбора транспортной компании остается за отправителем, если иное не указано в комментарии к Заказу или Договоре. Доставку оплачивает Получатель.
Включить в стоимость товара
Наши менеджеры самостоятельно оценят затраты на транспортировку Товара до Вашего склада, включат эту сумму в стоимость товара, оформят забор, межтерминальную доставку и доставку по вашему городу. Расчеты с транспортной компаний осуществляет отправитель, страховые риски во время транспортировки несет отправитель.

